Poštovani klijenti, kompanija Agromarket D.O.O 16.02. I 17.02. neće vršiti distribuciju robe zbog državnog praznika.
- Agromarket
- Rezervni delovi
- Delovi za baštenske alate
- Delovi uređaja
- Delovi trimera
- Motorni trimer BC 1250 S
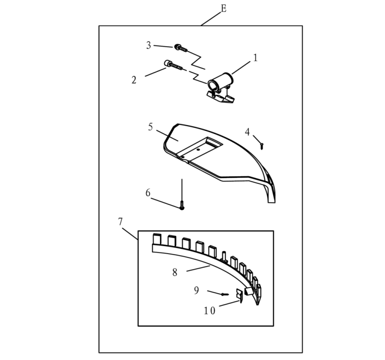
Izaberite rezervni deo klikom na mapu
Izaberite potreban rezervni deo klikom na listu
Nosač rezervoara goriva za motorni trimer BC 1250S - BC 1900S - BC 1250E - BC 1900E - AGM 520E
DIHTUNG STARTERA
MATICA KUCISTA CAPE- MATICA MAGNETA
CAPA
OPRUGA CAPE
NOSAC CAPE KPT
SEMERING RADILICE 12x22x7
KUCISTE ZADNJE
DIHTUNG KUCISTA
LEZAJ RADILICE 6202 OTVORENI
RADILICA
KAJLA RADILICE 3X5X13
KUCISTE PREDNJE
SEMERING PREDNJEG KUCISTA 15x30x7
MAGNET PALJENJA
MAGNET PALJENJA+ELEKTRONIKA
KABLOVI PALJENJA ZA TRIMERE
Kvačilo kpt. za motorni trimer BC900S - BC1250S - BC1900S - AGM520
SRAF KVACILA
POKLOPAC MAGNETA
LEZAJ MALE PESNICE 10x12x15
PRSTEN PODLOSKA-OSIGURAC BOLCNIJA KLIPA
KLIP 40 mm
BOLCNI KLIPA 10 x 32,7 mm
KARIKA 40 x 1.5 mm
DIHTUNG CILINDRA
CILINDAR 40 mm
POKLOPAC MOTORA
A942P - Svećica Villager (testera, trimer) (RCJ7Y CHAMP - BPMR6A NGK) - 19MM
POKLOPAC SVECICE
DIHTUNG AUSPUHA
AUSPUH
POKLOPAC AUSPUHA
DIHTUNG DISTANCE
DISTANCA KARBURATORA
DIHTUNG KARBURATORA
Karburator za motorni trimer BC1250S - BC1900S - AGM520
UNUTRASNJI POKLOPAC FILTERA VAZDUHA
FILTER VAZDUHA
POKLOPAC FILTERA UNUTRASNJI
POKLOPAC FILTERA ZA VAZDUH
Starter - mašna za motorni trimer BC 1250S do 2016. god - motorne pumpe WP 15 - WP 7A
Filter goriva za motorne trimere BC 900S - BC 1250S - BC 1900S - AGM 520 - AGM 525
CREVO GORIVA KRACE
Nosač creva goriva na rezervoaru BC 900S - BC 1250S - BC 1900S - AGM 520
Crevo goriva duže za motorne trimere Villager BC 900S - BC1250S - BC 1900S
Rezervoar goriva komplet za motorni trimer BC1250S do 2016 god. - BC1900S do 2016 god. - AGM520
Čep rezervoara goriva za motorni trimer BC900S - BC1250S - BC1900S - AGM 520
Rukohvat gasa 19 mm kpt. za motorni trimer BC900S - BC1250S - BC1900S
NOSAC KAISA 26 mm
Nož za trimere 3T (1.4 mm)
Remen za trimer EH2013
GRANICNIK 26 mm
KUCISTE TRIMERA
Cev sa kardanom komplet 26 mm za motorni trimer BC900S do 2016. god - AGM520
Cev kardana sa biksnama 26 mm za motorni trimer Villager BC 750S - BC 900S - BC 1250S do 2016. godin
Kardan 9 zuba za motorni trimer BC900S - BC1250S - BC1900S - AGM520
Nosač štinika - cev 26 mm za motorni trimer Villager BC900S - BC1250S do 2016. godine
Štitnik niti za motorne trimere BC900S - BC1250S - BC1900S do 2016 god.
DONJI DEO STITNIKA
NOZIC ZA SILK
Zvono kvačila 9 ricni za motorni trimer Villager BC 900S - BC 1250S - BC 1900S
ZEGER OSIGURAC
LEZAJ RADILICE 6202 OTVORENI
KUCISTE KVACILA
GUMENA MANZETNA-AMORTIZER
POLUMESEC A
POLUMESEC B
Bike rukohvat 19 mm za motorne trimere Villager BC 900S - BC 1250S - BC 1900S
NOSAC RUCKI ALU 2020 - 26mm
Prenosni mehanizam 26 mm - 9 ricni za motorni trimer BC900S do 2016 god. - AGM520
STITNIK MENJACA
Podloška prenosne glave gornja A za motorni trimer Villager BC 900S - BC 1250S - BC 1900S - AGM 520
Podloška noža donja - B za motorni trimer Villager BC750S - BC900S - BC1250S - BC1900S - AGM520
Matica noža M10 x 1,25 - levi navoj za motorni trimer Villager i AGM
Rb
Šifra
Kategorija
Naziv
1
013486 /
Delovi 2T motora - ostalo
Rezervoar goriva komplet za motorni trimer BC1250S do 2016 god. - BC1900S do 2016 god. - AGM520
Detaljnije
2
017556 /
Delovi 2T motora - kućišta
KUCISTE ZADNJE
Detaljnije
3
013510 /
Delovi 2T motora - ostalo
CREVO GORIVA KRACE
Detaljnije
4
019829 /
Delovi 2T motora - paljenje
MAGNET PALJENJA
Detaljnije
5
013531 /
Delovi 2T motora - dihtunzi
DIHTUNG STARTERA
Detaljnije
6
013503 /
Delovi 2T motora - karburatori
DISTANCA KARBURATORA
Detaljnije
7
010871 /
Filteri - za gorivo
Filter goriva za motorne trimere BC 900S - BC 1250S - BC 1900S - AGM 520 - AGM 525
Detaljnije
8
020861 /
Delovi 2T motora - dihtunzi
DIHTUNG AUSPUHA
Detaljnije
9
013507 /
Delovi 2T motora - starteri
CAPA
Detaljnije
10
013513 /
Delovi 2T motora - ostalo
AUSPUH
Detaljnije
11
013494 /
Delovi 2T motora - ostalo
PRSTEN PODLOSKA-OSIGURAC BOLCNIJA KLIPA
Detaljnije
12
013511 /
Delovi 2T motora - ostalo
POKLOPAC FILTERA ZA VAZDUH
Detaljnije
13
013509 /
Delovi 2T motora - ostalo
Crevo goriva duže za motorne trimere Villager BC 900S - BC1250S - BC 1900S
Detaljnije
14
030523 /
Delovi 2T motora - ostalo
Nosač rezervoara goriva za motorni trimer BC 1250S - BC 1900S - BC 1250E - BC 1900E - AGM 520E
Detaljnije
15
049142 /
Delovi 2T motora - ostalo
POKLOPAC FILTERA UNUTRASNJI
Detaljnije
16
013489 /
Delovi 2T motora - radilice
RADILICA
Detaljnije
17
013492 /
Delovi 2T motora - cilindri i klipovi
KARIKA 40 x 1.5 mm
Detaljnije
18
036805 /
Delovi 2T motora - ostalo
POKLOPAC MAGNETA
Detaljnije
19
010888 /
Filteri - za vazduh
FILTER VAZDUHA
Detaljnije
20
013493 /
Delovi 2T motora - ostalo
BOLCNI KLIPA 10 x 32,7 mm
Detaljnije
21
020853 /
Delovi 2T motora - starteri
OPRUGA CAPE
Detaljnije
22
013512 /
Delovi 2T motora - paljenje
KABLOVI PALJENJA ZA TRIMERE
Detaljnije
23
013491 /
Delovi 2T motora - cilindri i klipovi
KLIP 40 mm
Detaljnije
24
013508 /
Delovi 2T motora - starteri
NOSAC CAPE KPT
Detaljnije
25
024167 /
Delovi trimera
SRAF KVACILA
Detaljnije
26
020854 /
Delovi 2T motora - kućišta
KUCISTE PREDNJE
Detaljnije
27
013506 /
Delovi 2T motora - paljenje
MAGNET PALJENJA+ELEKTRONIKA
Detaljnije
28
013502 /
Delovi 2T motora - dihtunzi
DIHTUNG KARBURATORA
Detaljnije
29
013499 /
Delovi 2T motora - ostalo
POKLOPAC MOTORA
Detaljnije
30
032478 /
Delovi 2T motora - ostalo
KAJLA RADILICE 3X5X13
Detaljnije
31
020855 /
Delovi 2T motora - ostalo
SEMERING PREDNJEG KUCISTA 15x30x7
Detaljnije
32
013495 /
Delovi 2T motora - dihtunzi
DIHTUNG CILINDRA
Detaljnije
33
013498 /
Delovi 2T motora - ostalo
POKLOPAC SVECICE
Detaljnije
34
013496 /
Delovi 2T motora - cilindri i klipovi
CILINDAR 40 mm
Detaljnije
35
013532 /
Delovi 2T motora - dihtunzi
DIHTUNG KUCISTA
Detaljnije
36
020856 /
Delovi 2T motora - ostalo
UNUTRASNJI POKLOPAC FILTERA VAZDUHA
Detaljnije
37
020857 /
Delovi 2T motora - ostalo
Nosač creva goriva na rezervoaru BC 900S - BC 1250S - BC 1900S - AGM 520
Detaljnije
38
010886 /
Delovi trimera
Čep rezervoara goriva za motorni trimer BC900S - BC1250S - BC1900S - AGM 520
Detaljnije
39
013505 /
Delovi 2T motora - ostalo
POKLOPAC AUSPUHA
Detaljnije
40
013461 /
Delovi 2T motora - ostalo
SEMERING RADILICE 12x22x7
Detaljnije
41
013501 /
Delovi 2T motora - karburatori
Karburator za motorni trimer BC1250S - BC1900S - AGM520
Detaljnije
42
013504 /
Delovi 2T motora - dihtunzi
DIHTUNG DISTANCE
Detaljnije
43
013500 /
Delovi 2T motora - starteri
Starter - mašna za motorni trimer BC 1250S do 2016. god - motorne pumpe WP 15 - WP 7A
Detaljnije
44
013490 /
Ležajevi - igličasti
LEZAJ MALE PESNICE 10x12x15
Detaljnije
45
079953 /
Svećice
A942P - Svećica Villager (testera, trimer) (RCJ7Y CHAMP - BPMR6A NGK) - 19MM
Detaljnije
Rb
Šifra
Kategorija
Naziv
1
010847 /
Delovi trimera
Rukohvat gasa 19 mm kpt. za motorni trimer BC900S - BC1250S - BC1900S
Detaljnije
Rb
Šifra
Kategorija
Naziv
1
020859 /
Remeni
Remen za trimer EH2013
Detaljnije
2
051315 /
Noževi za trimere
Nož za trimere 3T (1.4 mm)
Detaljnije
3
020860 /
Delovi 2T motora - kućišta
KUCISTE TRIMERA
Detaljnije
4
013483 /
Delovi trimera
GRANICNIK 26 mm
Detaljnije
5
013485 /
Delovi trimera
NOSAC KAISA 26 mm
Detaljnije
Rb
Šifra
Kategorija
Naziv
1
010842 /
Delovi trimera
Cev kardana sa biksnama 26 mm za motorni trimer Villager BC 750S - BC 900S - BC 1250S do 2016. godin
Detaljnije
2
036926 /
Delovi trimera
Kardan 9 zuba za motorni trimer BC900S - BC1250S - BC1900S - AGM520
Detaljnije
3
013480 /
Delovi trimera
Cev sa kardanom komplet 26 mm za motorni trimer BC900S do 2016. god - AGM520
Detaljnije
Rb
Šifra
Kategorija
Naziv
1
010848 /
Delovi trimera
Nosač štinika - cev 26 mm za motorni trimer Villager BC900S - BC1250S do 2016. godine
Detaljnije
2
009799 /
Delovi trimera
DONJI DEO STITNIKA
Detaljnije
3
013447 /
Delovi trimera
Štitnik niti za motorne trimere BC900S - BC1250S - BC1900S do 2016 god.
Detaljnije
4
017552 /
Delovi trimera
NOZIC ZA SILK
Detaljnije
Rb
Šifra
Kategorija
Naziv
1
013436 /
Delovi trimera
GUMENA MANZETNA-AMORTIZER
Detaljnije
2
010844 /
Delovi trimera
POLUMESEC B
Detaljnije
3
010723 /
Delovi trimera
ZEGER OSIGURAC
Detaljnije
4
013481 /
Delovi trimera
Zvono kvačila 9 ricni za motorni trimer Villager BC 900S - BC 1250S - BC 1900S
Detaljnije
5
010845 /
Delovi trimera
POLUMESEC A
Detaljnije
6
010771 /
Ležajevi - kuglični
LEZAJ RADILICE 6202 OTVORENI
Detaljnije
7
010843 /
Delovi trimera
KUCISTE KVACILA
Detaljnije
Rb
Šifra
Kategorija
Naziv
1
022033 /
Delovi trimera
Bike rukohvat 19 mm za motorne trimere Villager BC 900S - BC 1250S - BC 1900S
Detaljnije
2
065734 /
Delovi trimera
NOSAC RUCKI ALU 2020 - 26mm
Detaljnije
Rb
Šifra
Kategorija
Naziv
1
010841 /
Rezni pribor za trimere - noževi
Matica noža M10 x 1,25 - levi navoj za motorni trimer Villager i AGM
Detaljnije
2
010838 /
Delovi trimera
Prenosni mehanizam 26 mm - 9 ricni za motorni trimer BC900S do 2016 god. - AGM520
Detaljnije
3
010850 /
Delovi trimera
STITNIK MENJACA
Detaljnije
4
010839 /
Delovi trimera
Podloška prenosne glave gornja A za motorni trimer Villager BC 900S - BC 1250S - BC 1900S - AGM 520
Detaljnije
5
010840 /
Delovi trimera
Podloška noža donja - B za motorni trimer Villager BC750S - BC900S - BC1250S - BC1900S - AGM520
Detaljnije
Rezervoar goriva komplet za motorni trimer BC1250S do 2016 god. - BC1900S do 2016 god. - AGM520
Šifra: 013486
| Karakteristika | Vrednost |
|---|---|
| Kategorija | Delovi 2T motora - ostalo |
| Tezina | 268 |
| Brend | Villager |
1.482,00 RSD
Ušteda:
0,00
RSD
Dodajte u korpu Obrada
| Karakteristika | Vrednost |
|---|---|
| Kategorija | Delovi 2T motora - kućišta |
| Tezina | 170 |
| Brend | Villager |
1.108,00 RSD
Ušteda:
0,00
RSD
Dodajte u korpu Obrada
| Karakteristika | Vrednost |
|---|---|
| Kategorija | Delovi 2T motora - ostalo |
| Tezina | 2 |
| Brend | Villager |
101,00 RSD
Ušteda:
0,00
RSD
Dodajte u korpu Obrada
| Karakteristika | Vrednost |
|---|---|
| Kategorija | Delovi 2T motora - paljenje |
| Tezina | 415 |
| Brend | Villager |
1.872,00 RSD
Ušteda:
0,00
RSD
Dodajte u korpu Obrada
| Karakteristika | Vrednost |
|---|---|
| Kategorija | Delovi 2T motora - dihtunzi |
| Tezina | 10 |
| Brend | Villager |
148,00 RSD
Ušteda:
0,00
RSD
Dodajte u korpu Obrada
| Karakteristika | Vrednost |
|---|---|
| Kategorija | Delovi 2T motora - karburatori |
| Tezina | 37 |
| Brend | Villager |
468,00 RSD
Ušteda:
0,00
RSD
Dodajte u korpu Obrada
Filter goriva za motorne trimere BC 900S - BC 1250S - BC 1900S - AGM 520 - AGM 525
Šifra: 010871
| Karakteristika | Vrednost |
|---|---|
| Kategorija | Filteri - za gorivo |
| Tezina | 14 |
| Brend | Villager |
234,00 RSD
Ušteda:
0,00
RSD
Dodajte u korpu Obrada
| Karakteristika | Vrednost |
|---|---|
| Kategorija | Delovi 2T motora - dihtunzi |
| Tezina | 13 |
| Brend | Villager |
234,00 RSD
Ušteda:
0,00
RSD
Dodajte u korpu Obrada
| Karakteristika | Vrednost |
|---|---|
| Kategorija | Delovi 2T motora - starteri |
| Tezina | 1000 |
| Brend | Villager |
234,00 RSD
Ušteda:
0,00
RSD
Dodajte u korpu Obrada
| Karakteristika | Vrednost |
|---|---|
| Kategorija | Delovi 2T motora - ostalo |
| Tezina | 1000 |
| Brend | Villager |
1.186,00 RSD
Ušteda:
0,00
RSD
Dodajte u korpu Obrada
| Karakteristika | Vrednost |
|---|---|
| Kategorija | Delovi 2T motora - ostalo |
| Tezina | 1 |
| Brend | Villager |
39,00 RSD
Ušteda:
0,00
RSD
Dodajte u korpu Obrada
| Karakteristika | Vrednost |
|---|---|
| Kategorija | Delovi 2T motora - ostalo |
| Tezina | 52 |
| Brend | Villager |
468,00 RSD
Ušteda:
0,00
RSD
Dodajte u korpu Obrada
Crevo goriva duže za motorne trimere Villager BC 900S - BC1250S - BC 1900S
Šifra: 013509
| Karakteristika | Vrednost |
|---|---|
| Kategorija | Delovi 2T motora - ostalo |
| Tezina | 4 |
| Brend | Villager |
133,00 RSD
Ušteda:
0,00
RSD
Dodajte u korpu Obrada
Nosač rezervoara goriva za motorni trimer BC 1250S - BC 1900S - BC 1250E - BC 1900E - AGM 520E
Šifra: 030523
| Karakteristika | Vrednost |
|---|---|
| Kategorija | Delovi 2T motora - ostalo |
| Tezina | 191 |
| Brend | Villager |
702,00 RSD
Ušteda:
0,00
RSD
Dodajte u korpu Obrada
| Karakteristika | Vrednost |
|---|---|
| Kategorija | Delovi 2T motora - ostalo |
| Tezina | 10 |
| Brend | Villager |
101,00 RSD
Ušteda:
0,00
RSD
Dodajte u korpu Obrada
| Karakteristika | Vrednost |
|---|---|
| Kategorija | Delovi 2T motora - radilice |
| Tezina | 381 |
| Brend | Villager |
2.340,00 RSD
Ušteda:
0,00
RSD
Dodajte u korpu Obrada
| Karakteristika | Vrednost |
|---|---|
| Kategorija | Delovi 2T motora - cilindri i klipovi |
| Tezina | 6 |
| Brend | Villager |
172,00 RSD
Ušteda:
0,00
RSD
Dodajte u korpu Obrada
| Karakteristika | Vrednost |
|---|---|
| Kategorija | Delovi 2T motora - ostalo |
| Tezina | 159 |
| Brend | Villager |
967,00 RSD
Ušteda:
0,00
RSD
Dodajte u korpu Obrada
| Karakteristika | Vrednost |
|---|---|
| Kategorija | Filteri - za vazduh |
| Tezina | 1 |
| Brend | Villager |
125,00 RSD
Ušteda:
0,00
RSD
Dodajte u korpu Obrada
| Karakteristika | Vrednost |
|---|---|
| Kategorija | Delovi 2T motora - ostalo |
| Tezina | 13 |
| Brend | Villager |
125,00 RSD
Ušteda:
0,00
RSD
Dodajte u korpu Obrada
| Karakteristika | Vrednost |
|---|---|
| Kategorija | Delovi 2T motora - starteri |
| Tezina | 1 |
| Brend | Villager |
62,00 RSD
Ušteda:
0,00
RSD
Dodajte u korpu Obrada
| Karakteristika | Vrednost |
|---|---|
| Kategorija | Delovi 2T motora - paljenje |
| Tezina | 22 |
| Brend | Villager |
78,00 RSD
Ušteda:
0,00
RSD
Dodajte u korpu Obrada
| Karakteristika | Vrednost |
|---|---|
| Kategorija | Delovi 2T motora - cilindri i klipovi |
| Tezina | 38 |
| Brend | Villager |
686,00 RSD
Ušteda:
0,00
RSD
Dodajte u korpu Obrada
| Karakteristika | Vrednost |
|---|---|
| Kategorija | Delovi 2T motora - starteri |
| Tezina | 35 |
| Brend | Villager |
476,00 RSD
Ušteda:
0,00
RSD
Dodajte u korpu Obrada
| Karakteristika | Vrednost |
|---|---|
| Kategorija | Delovi trimera |
| Tezina | 16 |
| Brend | Villager |
140,00 RSD
Ušteda:
0,00
RSD
Dodajte u korpu Obrada
| Karakteristika | Vrednost |
|---|---|
| Kategorija | Delovi 2T motora - kućišta |
| Tezina | 261 |
| Brend | Villager |
1.264,00 RSD
Ušteda:
0,00
RSD
Dodajte u korpu Obrada
| Karakteristika | Vrednost |
|---|---|
| Kategorija | Delovi 2T motora - paljenje |
| Tezina | 1000 |
| Brend | Villager |
2.650,00 RSD
Ušteda:
0,00
RSD
Dodajte u korpu Obrada
| Karakteristika | Vrednost |
|---|---|
| Kategorija | Delovi 2T motora - dihtunzi |
| Tezina | 2 |
| Brend | Villager |
133,00 RSD
Ušteda:
0,00
RSD
Dodajte u korpu Obrada
| Karakteristika | Vrednost |
|---|---|
| Kategorija | Delovi 2T motora - ostalo |
| Tezina | 1000 |
| Brend | Villager |
733,00 RSD
Ušteda:
0,00
RSD
Dodajte u korpu Obrada
| Karakteristika | Vrednost |
|---|---|
| Kategorija | Delovi 2T motora - ostalo |
| Tezina | 1 |
| Brend | Villager |
39,00 RSD
Ušteda:
0,00
RSD
Dodajte u korpu Obrada
| Karakteristika | Vrednost |
|---|---|
| Kategorija | Delovi 2T motora - ostalo |
| Tezina | 7 |
| Brend | Villager |
195,00 RSD
Ušteda:
0,00
RSD
Dodajte u korpu Obrada
| Karakteristika | Vrednost |
|---|---|
| Kategorija | Delovi 2T motora - dihtunzi |
| Tezina | 2 |
| Brend | Villager |
133,00 RSD
Ušteda:
0,00
RSD
Dodajte u korpu Obrada
| Karakteristika | Vrednost |
|---|---|
| Kategorija | Delovi 2T motora - ostalo |
| Tezina | 1000 |
| Brend | Villager |
195,00 RSD
Ušteda:
0,00
RSD
Dodajte u korpu Obrada
| Karakteristika | Vrednost |
|---|---|
| Kategorija | Delovi 2T motora - cilindri i klipovi |
| Tezina | 435 |
| Brend | Villager |
2.340,00 RSD
Ušteda:
0,00
RSD
Dodajte u korpu Obrada
| Karakteristika | Vrednost |
|---|---|
| Kategorija | Delovi 2T motora - dihtunzi |
| Tezina | 1 |
| Brend | Villager |
203,00 RSD
Ušteda:
0,00
RSD
Dodajte u korpu Obrada
| Karakteristika | Vrednost |
|---|---|
| Kategorija | Delovi 2T motora - ostalo |
| Tezina | 36 |
| Brend | Villager |
452,00 RSD
Ušteda:
0,00
RSD
Dodajte u korpu Obrada
Nosač creva goriva na rezervoaru BC 900S - BC 1250S - BC 1900S - AGM 520
Šifra: 020857
| Karakteristika | Vrednost |
|---|---|
| Kategorija | Delovi 2T motora - ostalo |
| Tezina | 5 |
| Brend | Villager |
179,00 RSD
Ušteda:
0,00
RSD
Dodajte u korpu Obrada
Čep rezervoara goriva za motorni trimer BC900S - BC1250S - BC1900S - AGM 520
Šifra: 010886
| Karakteristika | Vrednost |
|---|---|
| Kategorija | Delovi trimera |
| Tezina | 16 |
| Brend | Agm |
312,00 RSD
Ušteda:
0,00
RSD
Dodajte u korpu Obrada
| Karakteristika | Vrednost |
|---|---|
| Kategorija | Delovi 2T motora - ostalo |
| Tezina | 10 |
| Brend | Villager |
515,00 RSD
Ušteda:
0,00
RSD
Dodajte u korpu Obrada
| Karakteristika | Vrednost |
|---|---|
| Kategorija | Delovi 2T motora - ostalo |
| Tezina | 1000 |
| Brend | Villager |
156,00 RSD
Ušteda:
0,00
RSD
Dodajte u korpu Obrada
| Karakteristika | Vrednost |
|---|---|
| Kategorija | Delovi 2T motora - karburatori |
| Tezina | 127 |
| Brend | Villager |
2.808,00 RSD
Ušteda:
0,00
RSD
Dodajte u korpu Obrada
| Karakteristika | Vrednost |
|---|---|
| Kategorija | Delovi 2T motora - dihtunzi |
| Tezina | 1 |
| Brend | Villager |
133,00 RSD
Ušteda:
0,00
RSD
Dodajte u korpu Obrada
Starter - mašna za motorni trimer BC 1250S do 2016. god - motorne pumpe WP 15 - WP 7A
Šifra: 013500
| Karakteristika | Vrednost |
|---|---|
| Kategorija | Delovi 2T motora - starteri |
| Tezina | 250 |
| Brend | Villager |
1.558,00 RSD
Ušteda:
0,00
RSD
Dodajte u korpu Obrada
| Karakteristika | Vrednost |
|---|---|
| Kategorija | Ležajevi - igličasti |
| Tezina | 5 |
| Brend | Villager |
250,00 RSD
Ušteda:
0,00
RSD
Dodajte u korpu Obrada
A942P - Svećica Villager (testera, trimer) (RCJ7Y CHAMP - BPMR6A NGK) - 19MM
Šifra: 079953
| Karakteristika | Vrednost |
|---|---|
| Kategorija | Svećice |
| Tezina | 37 |
| Brend | Villager |
179,00 RSD
Ušteda:
0,00
RSD
Dodajte u korpu Obrada
| Karakteristika | Vrednost |
|---|---|
| Kategorija | Delovi trimera |
| Tezina | 204 |
| Brend | Villager |
1.388,00 RSD
Ušteda:
0,00
RSD
Dodajte u korpu Obrada
| Karakteristika | Vrednost |
|---|---|
| Kategorija | Remeni |
| Tezina | 710 |
| Brend | Villager |
2.739,00 RSD
Ušteda:
0,00
RSD
Dodajte u korpu Obrada
| Karakteristika | Vrednost |
|---|---|
| Kategorija | Noževi za trimere |
| Tezina | 317 |
| Brend | Villager |
1.019,00 RSD
Ušteda:
0,00
RSD
Dodajte u korpu Obrada
| Karakteristika | Vrednost |
|---|---|
| Kategorija | Delovi 2T motora - kućišta |
| Tezina | 1000 |
| Brend | Villager |
1.326,00 RSD
Ušteda:
0,00
RSD
Dodajte u korpu Obrada
| Karakteristika | Vrednost |
|---|---|
| Kategorija | Delovi trimera |
| Tezina | 10 |
| Brend | Villager |
148,00 RSD
Ušteda:
0,00
RSD
Dodajte u korpu Obrada
| Karakteristika | Vrednost |
|---|---|
| Kategorija | Delovi trimera |
| Tezina | 17 |
| Brend | Villager |
218,00 RSD
Ušteda:
0,00
RSD
Dodajte u korpu Obrada
Cev kardana sa biksnama 26 mm za motorni trimer Villager BC 750S - BC 900S - BC 1250S do 2016. godin
Šifra: 010842
| Karakteristika | Vrednost |
|---|---|
| Kategorija | Delovi trimera |
| Tezina | 1000 |
| Brend | Villager |
1.872,00 RSD
Ušteda:
0,00
RSD
Dodajte u korpu Obrada
| Karakteristika | Vrednost |
|---|---|
| Kategorija | Delovi trimera |
| Tezina | 590 |
| Brend | Villager |
1.373,00 RSD
Ušteda:
0,00
RSD
Dodajte u korpu Obrada
Cev sa kardanom komplet 26 mm za motorni trimer BC900S do 2016. god - AGM520
Šifra: 013480
| Karakteristika | Vrednost |
|---|---|
| Kategorija | Delovi trimera |
| Tezina | 1200 |
| Brend | Villager |
2.964,00 RSD
Ušteda:
0,00
RSD
Dodajte u korpu Obrada
Nosač štinika - cev 26 mm za motorni trimer Villager BC900S - BC1250S do 2016. godine
Šifra: 010848
| Karakteristika | Vrednost |
|---|---|
| Kategorija | Delovi trimera |
| Tezina | 48 |
| Brend | Villager |
413,00 RSD
Ušteda:
0,00
RSD
Dodajte u korpu Obrada
| Karakteristika | Vrednost |
|---|---|
| Kategorija | Delovi trimera |
| Tezina | 72 |
| Brend | Villager |
546,00 RSD
Ušteda:
0,00
RSD
Dodajte u korpu Obrada
Štitnik niti za motorne trimere BC900S - BC1250S - BC1900S do 2016 god.
Šifra: 013447
| Karakteristika | Vrednost |
|---|---|
| Kategorija | Delovi trimera |
| Tezina | 375 |
| Brend | Villager |
1.326,00 RSD
Ušteda:
0,00
RSD
Dodajte u korpu Obrada
| Karakteristika | Vrednost |
|---|---|
| Kategorija | Delovi trimera |
| Tezina | 19 |
| Brend | Villager |
218,00 RSD
Ušteda:
0,00
RSD
Dodajte u korpu Obrada
| Karakteristika | Vrednost |
|---|---|
| Kategorija | Delovi trimera |
| Tezina | 20 |
| Brend | Villager |
281,00 RSD
Ušteda:
0,00
RSD
Dodajte u korpu Obrada
| Karakteristika | Vrednost |
|---|---|
| Kategorija | Delovi trimera |
| Tezina | 20 |
| Brend | Villager |
374,00 RSD
Ušteda:
0,00
RSD
Dodajte u korpu Obrada
| Karakteristika | Vrednost |
|---|---|
| Kategorija | Delovi trimera |
| Tezina | 1000 |
| Brend | Villager |
47,00 RSD
Ušteda:
0,00
RSD
Dodajte u korpu Obrada
Zvono kvačila 9 ricni za motorni trimer Villager BC 900S - BC 1250S - BC 1900S
Šifra: 013481
| Karakteristika | Vrednost |
|---|---|
| Kategorija | Delovi trimera |
| Tezina | 202 |
| Brend | Villager |
1.248,00 RSD
Ušteda:
0,00
RSD
Dodajte u korpu Obrada
| Karakteristika | Vrednost |
|---|---|
| Kategorija | Delovi trimera |
| Tezina | 18 |
| Brend | Villager |
374,00 RSD
Ušteda:
0,00
RSD
Dodajte u korpu Obrada
| Karakteristika | Vrednost |
|---|---|
| Kategorija | Ležajevi - kuglični |
| Tezina | 42 |
| Brend | Villager |
390,00 RSD
Ušteda:
0,00
RSD
Dodajte u korpu Obrada
| Karakteristika | Vrednost |
|---|---|
| Kategorija | Delovi trimera |
| Tezina | 257 |
| Brend | Villager |
1.388,00 RSD
Ušteda:
0,00
RSD
Dodajte u korpu Obrada
Bike rukohvat 19 mm za motorne trimere Villager BC 900S - BC 1250S - BC 1900S
Šifra: 022033
| Karakteristika | Vrednost |
|---|---|
| Kategorija | Delovi trimera |
| Tezina | 373 |
| Brend | Villager |
1.170,00 RSD
Ušteda:
0,00
RSD
Dodajte u korpu Obrada
| Karakteristika | Vrednost |
|---|---|
| Kategorija | Delovi trimera |
| Tezina | 245 |
| Brend | Villager |
1.326,00 RSD
Ušteda:
0,00
RSD
Dodajte u korpu Obrada
| Karakteristika | Vrednost |
|---|---|
| Kategorija | Rezni pribor za trimere - noževi |
| Tezina | 14 |
| Brend | Villager |
179,00 RSD
Ušteda:
0,00
RSD
Dodajte u korpu Obrada
Prenosni mehanizam 26 mm - 9 ricni za motorni trimer BC900S do 2016 god. - AGM520
Šifra: 010838
| Karakteristika | Vrednost |
|---|---|
| Kategorija | Delovi trimera |
| Tezina | 604 |
| Brend | Villager |
3.276,00 RSD
Ušteda:
0,00
RSD
Dodajte u korpu Obrada
| Karakteristika | Vrednost |
|---|---|
| Kategorija | Delovi trimera |
| Tezina | 36 |
| Brend | Villager |
413,00 RSD
Ušteda:
0,00
RSD
Dodajte u korpu Obrada
Podloška prenosne glave gornja A za motorni trimer Villager BC 900S - BC 1250S - BC 1900S - AGM 520
Šifra: 010839
| Karakteristika | Vrednost |
|---|---|
| Kategorija | Delovi trimera |
| Tezina | 78 |
| Brend | Villager |
608,00 RSD
Ušteda:
0,00
RSD
Dodajte u korpu Obrada
Podloška noža donja - B za motorni trimer Villager BC750S - BC900S - BC1250S - BC1900S - AGM520
Šifra: 010840
| Karakteristika | Vrednost |
|---|---|
| Kategorija | Delovi trimera |
| Tezina | 93 |
| Brend | Villager |
530,00 RSD
Ušteda:
0,00
RSD
Dodajte u korpu Obrada