Pretraži sajt
%
×
Popis i kolektivni odmor

Poštovani klijenti, zbog popisa i kolektivnog odmora Agromarket neće izdavati rezervne delove od 22.12. i proizvode od 26.12. do 12.01.2026.

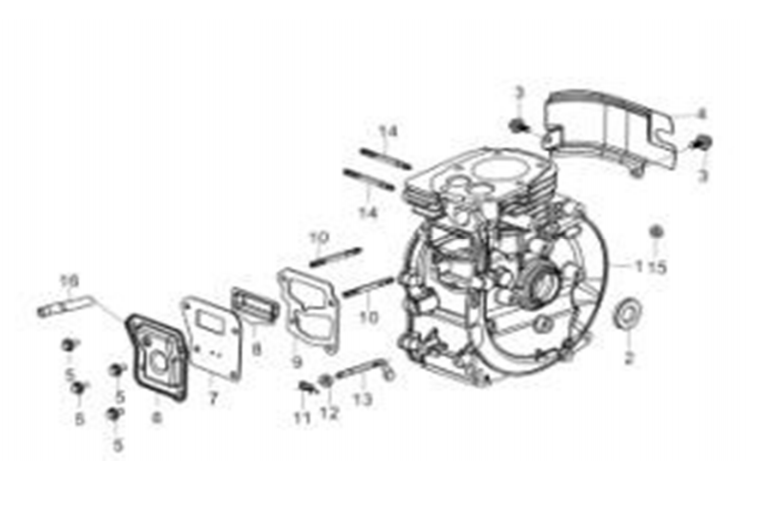
Izaberite rezervni deo klikom na mapu
Izaberite potreban rezervni deo klikom na listu
AMORTIZER-STOPICA
NAVRTKA ZA CREVO IZVOD ZA CREVO SPOJNICA ZA CREVO-METALNA ULAZ CEP PUMPE KLAPNA PUMPE USISNA KORPA POKLOPAC USISNE KORPE POKLOPAC GORNJI, IZLAZ ZA DIHTUNG POKLOPCA KUCISTE PUMPE KUCISTE RADNOG KOLA RADNO KOLO O RING ZAPTIVKA RADNOG KOLA-GUMA ZAPTIVKA RADNOG KOLA-PORCELAN MEHANICKA ZAPTIVKA, MANZETNA
POLUGA GASA KPT. VIJAK RADNOG KOLA NOSAC POLUGE GASA OPRUGA GASA OPRUGA GASA POVRATNA POLUGA GASA
MATICA MAGNETA CAPA VENTILATOR MAGNET PALJENJA ELEKTRONIKA KPT.
REZERVOAR GORIVA GORIVA CEP REZERVOARA GORIVA FILTER GORIVA VIJAK RADNOG KOLA SLAVINA GORIVA-ILI SPOJNICA CREVA
DIHTUNG AUSPUHA AUSPUH KPT. STITNIK AUSPUHA
FILTER VAZDUHA KPT. DIHTUNG FILTERA VAZDUHA
KARBURATOR KPT. DIHTUNG KARBURATORA DISTANCA KARBURATORA DIHTUNG DISTANCE
STARTER KPT. NOSAC STARTERA VIJAK RADNOG KOLA
BREGASTA OSOVINA SEDISTE VENTILA OSIGURAC VENTILA OPRUGA VENTILA NOSAC OPRUGE VENTILA VODJICA-SEMERING VENILA???
KARIKE SET KLIP BOLCNI KLIPA OSIGURAC BOLCNIJA KLIPA KLIPNJACA KPT.
RADILICA KPT.
POKLOPAC KUCISTA RADILICE SEMERING RADILICE DIHTUNG KUCISTA RADILICE MERAC NIVOA ULJA REGULATOR BROJA OBRTAJA
BLOK MOTORA, CILINDAR KPT. VIJAK RADNOG KOLA POKLOPAC KUCISTA SPOLJASNJI PODLOSKA POKLOPCA POKLOPAC KUCISTA UNUTRASNJI DIHTUNG POKLOPCA KUCISTA
GLAVA MOTORA-CILINDRA DIHTUNG GLAVE MOTORA SVECICA
Rb
Šifra
Kategorija
Naziv
1
044479 /
Delovi pumpi
AMORTIZER-STOPICA
Detaljnije
Rb
Šifra
Kategorija
Naziv
1
044478 /
Delovi pumpi
MEHANICKA ZAPTIVKA, MANZETNA
Detaljnije
2
044477 /
Delovi pumpi
ZAPTIVKA RADNOG KOLA-PORCELAN
Detaljnije
3
044469 /
Delovi pumpi
POKLOPAC USISNE KORPE
Detaljnije
4
044465 /
Delovi pumpi
SPOJNICA ZA CREVO-METALNA ULAZ
Detaljnije
5
044475 /
Delovi pumpi
O RING
Detaljnije
6
044474 /
Delovi pumpi
RADNO KOLO
Detaljnije
7
044464 /
Delovi pumpi
IZVOD ZA CREVO
Detaljnije
8
044463 /
Delovi pumpi
NAVRTKA ZA CREVO
Detaljnije
9
044467 /
Delovi pumpi
KLAPNA PUMPE
Detaljnije
10
044471 /
Delovi pumpi
DIHTUNG POKLOPCA
Detaljnije
11
044470 /
Delovi pumpi
POKLOPAC GORNJI, IZLAZ ZA
Detaljnije
12
044473 /
Delovi pumpi
KUCISTE RADNOG KOLA
Detaljnije
13
044468 /
Delovi pumpi
USISNA KORPA
Detaljnije
14
044472 /
Delovi pumpi
KUCISTE PUMPE
Detaljnije
15
044466 /
Delovi pumpi
CEP PUMPE
Detaljnije
16
044476 /
Delovi pumpi
ZAPTIVKA RADNOG KOLA-GUMA
Detaljnije
Rb
Šifra
Kategorija
Naziv
1
044509 /
Delovi pumpi
VIJAK RADNOG KOLA
Detaljnije
2
044458 /
Delovi pumpi
POLUGA GASA KPT.
Detaljnije
3
044460 /
Delovi pumpi
OPRUGA GASA
Detaljnije
4
044461 /
Delovi pumpi
OPRUGA GASA POVRATNA
Detaljnije
5
044462 /
Delovi pumpi
POLUGA GASA
Detaljnije
Rb
Šifra
Kategorija
Naziv
1
044457 /
Delovi 4T motora - paljenje
ELEKTRONIKA KPT.
Detaljnije
2
044453 /
Delovi 4T motora - ostalo
MATICA MAGNETA
Detaljnije
3
044454 /
Delovi 4T motora - starteri
CAPA
Detaljnije
4
044455 /
Delovi pumpi
VENTILATOR
Detaljnije
5
044456 /
Delovi 4T motora - paljenje
MAGNET PALJENJA
Detaljnije
Rb
Šifra
Kategorija
Naziv
1
044509 /
Delovi pumpi
VIJAK RADNOG KOLA
Detaljnije
2
044452 /
Delovi 4T motora - ostalo
SLAVINA GORIVA-ILI SPOJNICA CREVA
Detaljnije
3
044449 /
Delovi 4T motora - ostalo
REZERVOAR GORIVA
Detaljnije
4
044451 /
Filteri - za gorivo
FILTER GORIVA
Detaljnije
5
044450 /
Delovi 4T motora - ostalo
CEP REZERVOARA GORIVA
Detaljnije
Rb
Šifra
Kategorija
Naziv
1
044448 /
Delovi 4T motora - ostalo
STITNIK AUSPUHA
Detaljnije
2
044446 /
Delovi 4T motora - dihtunzi
DIHTUNG AUSPUHA
Detaljnije
3
044447 /
Delovi 4T motora - ostalo
AUSPUH KPT.
Detaljnije
Rb
Šifra
Kategorija
Naziv
1
044444 /
Filteri - za vazduh
FILTER VAZDUHA KPT.
Detaljnije
Rb
Šifra
Kategorija
Naziv
1
044440 /
Delovi 4T motora - karburatori
KARBURATOR KPT.
Detaljnije
2
044442 /
Delovi 4T motora - karburatori
DISTANCA KARBURATORA
Detaljnije
3
044443 /
Delovi 4T motora - dihtunzi
DIHTUNG DISTANCE
Detaljnije
4
044441 /
Delovi 4T motora - dihtunzi
DIHTUNG KARBURATORA
Detaljnije
Rb
Šifra
Kategorija
Naziv
1
044509 /
Delovi pumpi
VIJAK RADNOG KOLA
Detaljnije
2
044438 /
Delovi 4T motora - starteri
NOSAC STARTERA
Detaljnije
3
044437 /
Delovi 4T motora - starteri
Starter kpt. za motrnu pumpu Villager WP 8P
Detaljnije
Rb
Šifra
Kategorija
Naziv
1
044431 /
Delovi 4T motora - ostalo
SEDISTE VENTILA
Detaljnije
2
044430 /
Delovi 4T motora - radilice i bregaste
BREGASTA OSOVINA
Detaljnije
3
044433 /
Delovi 4T motora - ostalo
OPRUGA VENTILA
Detaljnije
4
044434 /
Delovi 4T motora - ostalo
NOSAC OPRUGE VENTILA
Detaljnije
5
044435 /
Delovi 4T motora - ostalo
VODJICA-SEMERING VENILA???
Detaljnije
6
044432 /
Delovi 4T motora - ostalo
OSIGURAC VENTILA
Detaljnije
Rb
Šifra
Kategorija
Naziv
1
044428 /
Delovi 4T motora - ostalo
OSIGURAC BOLCNIJA KLIPA
Detaljnije
2
044425 /
Delovi 4T motora - cilindri
KARIKE SET
Detaljnije
3
044426 /
Delovi 4T motora - klipovi
KLIP
Detaljnije
4
044427 /
Delovi 4T motora - ostalo
BOLCNI KLIPA
Detaljnije
5
044429 /
Delovi 4T motora - ostalo
KLIPNJACA KPT.
Detaljnije
Rb
Šifra
Kategorija
Naziv
1
044424 /
Delovi 4T motora - radilice i bregaste
RADILICA KPT.
Detaljnije
Rb
Šifra
Kategorija
Naziv
1
044422 /
Delovi pumpi
MERAC NIVOA ULJA
Detaljnije
2
044421 /
Delovi 4T motora - dihtunzi
DIHTUNG KUCISTA RADILICE
Detaljnije
3
044413 /
Delovi 4T motora - ostalo
SEMERING RADILICE 17 x30 x6
Detaljnije
4
044419 /
Delovi 4T motora - ostalo
POKLOPAC KUCISTA RADILICE
Detaljnije
5
044423 /
Delovi pumpi
REGULATOR BROJA OBRTAJA
Detaljnije
Rb
Šifra
Kategorija
Naziv
1
044509 /
Delovi pumpi
VIJAK RADNOG KOLA
Detaljnije
2
044412 /
Delovi 4T motora - cilindri
BLOK MOTORA, CILINDAR KPT.
Detaljnije
3
044414 /
Delovi 4T motora - ostalo
POKLOPAC KUCISTA SPOLJASNJI
Detaljnije
4
044415 /
Delovi pumpi
PODLOSKA POKLOPCA
Detaljnije
5
044416 /
Delovi pumpi
POKLOPAC KUCISTA UNUTRASNJI
Detaljnije
6
044417 /
Delovi 4T motora - dihtunzi
DIHTUNG POKLOPCA KUCISTA
Detaljnije
Rb
Šifra
Kategorija
Naziv
1
044411 /
Delovi 4T motora - paljenje
SVECICA
Detaljnije
2
044409 /
Delovi 4T motora - glave
GLAVA MOTORA-CILINDRA
Detaljnije
3
044410 /
Delovi 4T motora - dihtunzi
DIHTUNG GLAVE MOTORA
Detaljnije